行业资讯

加入亿拓客·流量大师 撬动财富之门!!!

开门红!港股大爆发,原因找到了!附券商1月金股

wang 2026-01-03 行业资讯
开门红!港股大爆发,原因找到了!附券商1月金股
1月2日,港股正常开市,再见A股休息,港股偷涨行情,且是集体大爆发。
其中,恒生指数大涨2.76%,直接突破了26000点大关,百度大涨9%,新东方涨7%,网易涨超6%,中国人寿涨超5%。
百度大涨背后,1月2日百度公告,已根据上市规则PN15向香港联交所提交有关建议分拆昆仑芯的方案,而香港联交所已确认公司可进行建议分拆。
高盛曾在研报中指出百度所持昆仑芯59%股权的价值区间为30亿至110亿美元。麦格理证券估算这一股权价值约165亿美元,占其给予百度目标估值的30%。
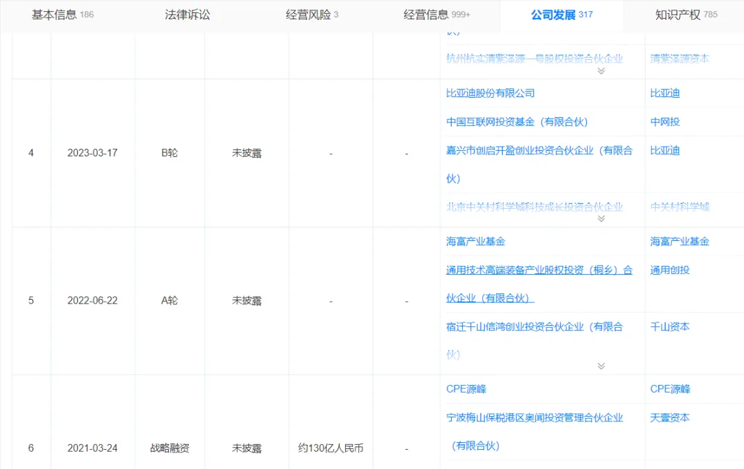
天眼查显示,截至目前,昆仑芯已进行7轮融资,股东中除了百度,还有CPE源峰、比亚迪、中信建投资本、工银资本、君联资本等明星股东。
涨的最猛的还是恒生科技指数,单日暴涨4%,华虹半导体、百度集团涨超9%,网易、金蝶国际涨超6%,携程、美的、中芯国际等涨超5%,阿里巴巴、理想汽车等涨近5%。
其中,但斌对此高呼:2026港股开门红,科技赛道一骑绝尘!人工智能时代的主赛道地位,看来依旧稳如泰山。
就在去年年底,但斌接受媒体采访时高呼:人工智能远不是一个两到三年就会结束的题材,它很可能是一个持续十年以上的宏大周期。
其中,华虹半导体12月31日公告称,该公司计划通过发行股份方式,向华虹集团等4名交易对方购买其合计持有的华力微97.4988%股权,并拟向不超过35名符合条件的特定对象发行股票募集配套资金。
中芯国际也有利好,时隔5个月后,国家集成电路产业投资基金暴力增持7.4亿股,持股飙至9.25%,成本74.2港元。其实这件事跟中芯国际收购中芯北方是一件事,基公司拟向国家集成电路产业投资基金等5名交易对方以发行股份的方式收购中芯北方49%股权。
除了半导体、科技赛道,航空航天、风电以及稀土永磁、机器人等也涨幅喜人。其中,亚太卫星涨34%,航天控股涨超18%,市场继续预期周一A股商业航天行情。而且,持股蓝箭航天10%股份的金风科技暴涨20%。
此外,港股国产GPU第一股壁仞科技登陆港股,由于沐曦股份和摩尔线程涨的太好,壁仞科技盘初一度飙升逾100%,但是由于港股多机构投资者,更趋于理性,叠加公司亏损惨重,收入远不及摩尔、沐曦,该公司股价上演高开低走大跳水行情。
如果高点42.88港元买入,截至收盘,壁仞科技涨幅只有76%,一手亏损1684港元,该公司股价自高点跌幅高达20%,在二级市场参与的基本都亏损出局。
此前,金石杂谈报道,壁仞科技共有792名员工,其中752名加入了员工持股计划,四名董事持股5683万股。其中,752名员工持股1.3439亿股,按34.46港元计算,股民人均持股市值614万港元。
港股暴涨背后,金石杂谈认为还有几点原因:一是人民币飙升,离岸人民币一度突破6.97关口,支撑了人民币资产走强;二是A股休市,港股偷涨几乎已成历年套路;三是新年新气象,叠加此前港股已经调整好几个月,春节前走强或是大概率。
据数据宝统计,推荐1月金股的券商个数如下。其中,中际旭创和紫金矿业被推荐最多,还有中国中免、三花智控等。
数据宝还统计了低涨幅且低估值的券商1月金股,大家可以看下,不过老登股居多。

猜你喜欢

发表评论

发表评论: